2025-08-28 15:02:41
专利名称:一种太阳能电池板旋转折叠联动装置
专利单位:麻豆传媒 科学院自动化研究所
授权时间:2023.8.4
专 利 号:201910063764.8
专利类型:发明专利
主要发明人:吴文凯; 赵寒涛; 刘彤军; 杨庆禹; 郝明; 白广利; 董莘; 李麒;李乃川; 周晶; 甄海涛; 吴冈
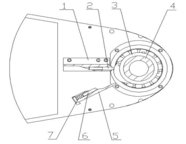
专利简介:本发明提出了一种太阳能电池板旋转折叠联动装置,属于机械结构领域,特别是涉及一种太阳能电池板旋转折叠联动装置。解决了现有的联动机构不能实现旋转构件展开过程中依次接触锁定以及折叠过程中的依次相对位置解锁,导致产生不可控的多余碰撞与冲击,对整体装置的结构以及电机将产生损坏的问题。它包括上锁定机构、下锁定机构、凸轮和主轴。它主要用于太阳能电池板旋转折叠的锁定及解锁。
