2021-03-15 12:46:11
项目名称:非接触式三维掌纹采集设备的研制
项目级别:院基金
起止时间:2020.01-2020.12
参加人员:李磊,宋昌江,高凤娇,杨东亮,费磊,丛晓丹,王云龙,李昕迪,张建平
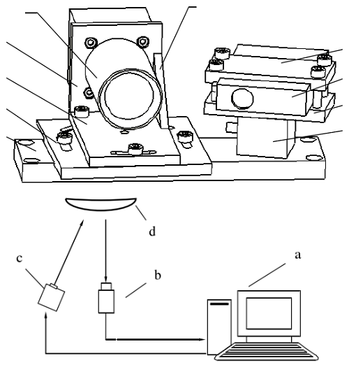
项目介绍:
系统使用结构化光原理采集3D点云,通过在投影仪和摄像头之间执行三角测量来恢复物体的表面信息。由投影仪将正弦光栅条纹投影到被测物体表面产生变形光栅,利用相移法解调出反映物体表面高程的相位信息,再经过相位解包裹及几何运算获得被测物体表面的三维信息。通过软件系统的设计、研制和开发实现三维掌纹仪系统功能,来实现 CCD驱动、数据采集、存储、图像处理、显示、存储、数据处理分析和三维结果显示等功能,并编辑人机交互界面以方便使用。最后通过实现非接触式的采集三维掌纹数据,解决原有掌纹采集设备速度慢、精度低、数据失真等一系列问题。
